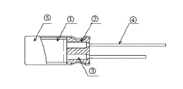
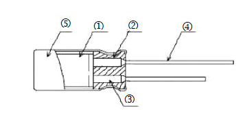
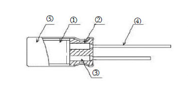
并联电容器在电力系统中的作用
电容器是一种能够储存和释放电能的装置,它由两个或多个金属板和它们之间的绝缘材料组成。并联连接电容器是将多个电容器的正极连接在一起,并将该负极连接在一起形成并联电路。
在电力系统中,并联电容器具有重要的作用,其作用和原理将详细介绍如下。
首先,由于分流电容器的设计是为了储存和释放电力,所以它可以用来平衡电源和负载之间的电力。在电力系统中,电源和负载之间存在功率不平衡。当负载的功率需求增加时,电源可能无法提供足够的功率,并导致电压下降。当负载的功率需求减少时,电源可能会提供多余的功率,从而导致电压上升。并联电容器可以存储多余的电力,并在需要时释放它,以平衡电源和负载之间的电力。
其次,并联电容器可以提高电力系统中的功率因数。功率因数是电力系统的一个重要指标,它代表了有用功率在整个电路中的比例。功率因数越高,电力系统的效率就越高。并联电容器可以通过储存和释放电来抵消感应负载所带来的无功功率。情绪负载是指带有电感的负载,导致电流和电压之间的相位差,从而降低功率因数。并联电容器可以提供反向电流,抵消感知负载的影响,从而增加功率因数。
此外,并联电容器还可以提高电力系统的稳定性。在电力系统中,电压波动和瞬态过电压可能会对负载设备造成损坏。并联电容可以通过调节电流和电压的波动来减小电压的波动范围,保持电力系统的稳定性。
除上述功能外,还具有其他功能:第一,提高电力系统的功率质量,降低谐波电流和电压的产生和传输;第二,提高输配电效率,减少线路损耗和能量浪费;第三,提高系统的响应速度和调节能力,降低系统的恢复时间和故障率。
总之,并联电容器在电力系统中起着重要的作用。它可以平衡电源和负载之间的功率,提高功率因数,提高电力系统的稳定性。此外,它还可以提高功率质量,提高电力系统的效率,加快系统的响应速度。
公司: 深圳市捷比信实业有限公司
电话: 0755-29796190
邮箱: tao@jepsun.com
产品经理: 陆经理
QQ: 2065372476
地址: 深圳市宝安区翻身路富源大厦1栋7楼

更多资讯
获取最新公司新闻和行业资料。
- 并联电容器在电力系统中的作用 并联电容器在电力系统中的作用 电容器是一种能够储存和释放电能的装置,它由两个或多个金属板和它们之间的绝缘材料组成。并联连接电容器是将多个电容器的正极连接在一起,并将该负极连接在一起形成并联电路。 在电力系...
- 深入理解车用并联参考方向在电动汽车控制系统中的作用 并联参考方向在电动汽车控制系统中的关键角色随着智能网联汽车的发展,车辆内部的电力电子系统日益复杂。在这些系统中,并联参考方向不仅是电气连接的基础,更是实现精准控制与安全运行的核心要素。1. 为什么需要统一...
- 车用并联稳压器中并联电容的作用与设计要点解析 车用并联稳压器中并联电容的核心作用在车载电子系统中,电源稳定性直接关系到整车电子控制单元(ECU)的可靠运行。车用并联稳压器作为关键的电压调节器件,其性能不仅依赖于稳压芯片本身,还受到外部电路设计的影响,...
- 深入解析CRW..A系列与SWR..A系列电阻器在电力系统中的关键作用 CRW..A系列与SWR..A系列在电力系统中的核心价值随着智能电网与新能源接入系统的快速发展,电力设备对过压保护的需求日益增强。浪涌电阻器作为第一道防线,其性能直接关系到系统安全与运行连续性。本文将从技术原理、实际...
- 整流变压器在电力系统中的作用及其GB/T标准符合性分析 引言整流变压器是电力电子系统中的核心组件之一,主要用于将交流电转换为直流电,广泛应用于轨道交通、电解工业、高压直流输电(HVDC)及新能源储能系统中。根据中国国家标准GB/T系列,整流变压器的设计、绝缘等级、温升...
- 超级电容器在混合动力车与启停系统中的创新应用 超级电容器在混合动力车与启停系统中的创新应用超级电容器因其卓越的充放电速度、超长循环寿命和高功率密度,正逐渐成为混合动力汽车(HEV)与自动启停系统的核心储能元件。相较于传统蓄电池,超级电容器在能量回收、...
- 抗浪涌电阻在电力系统中的关键作用与选型指南 抗浪涌电阻在电力系统中的核心价值抗浪涌电阻,又称浪涌保护电阻或瞬态抑制电阻,是现代电力电子设备中不可或缺的关键元件。其主要功能是在电路受到电压突变(如雷击、开关操作、电源波动)时,有效吸收和限制过电压...
- WINBOND W25Q系列Flash存储器在嵌入式系统中的核心作用 WINBOND W25Q系列Flash存储器:嵌入式系统的可靠数据基石在物联网(IoT)、智能家居、工业控制等领域,非易失性存储器是保障系统稳定运行的关键组件。WINBOND W25Q系列作为高性能串行Flash存储器的代表,以其高可靠性、大容量和低...
- 超快速二极管在新能源汽车电力电子系统中的关键作用 超快速二极管如何推动新能源汽车发展随着新能源汽车对电力电子系统效率、体积和可靠性的要求日益提高,超快速二极管成为核心元器件之一。其不仅具备极快的开关速度,还拥有优异的反向耐压能力和低导通压降,是实现高...
- 并联电容在220伏电源中的作用及意义 在电气系统中,220伏电源并联电容的应用非常广泛且意义重大。首先,并联电容可以改善系统的功率因数。对于许多工业和商业应用来说,负载往往是感性的,比如电动机、变压器等,这些设备在运行时会产生滞后的无功功率,...
- 电流监测器在电力系统中的应用与重要性 电流监测器是电力系统中不可或缺的一部分,它对于确保电力系统的安全、稳定运行具有重要作用。在电力系统中,电流监测器主要用于实时监控电路中的电流强度,及时发现异常情况,如过载、短路等,从而避免可能引发的安...
- Aggregators聚合器IC在系统中的作用与应用 在现代信息技术领域,Aggregators聚合器集成电路(IC)扮演着至关重要的角色,特别是在复杂系统的数据处理和管理中。Aggregators聚合器IC主要用于收集、整合来自不同源头的数据,然后将这些信息以一种统一的方式输出,以便于进...
- 时钟缓冲器在数字系统中的作用与应用 时钟缓冲器是数字系统设计中不可或缺的组件之一,它主要负责接收输入时钟信号,并将其放大和分配到多个目的地。在高速数字电路中,时钟信号的质量直接影响到系统的稳定性和性能。因此,时钟缓冲器的作用至关重要,它...
- IO扩充器在计算机系统中的作用与应用 IO(输入输出)扩充器在计算机系统中扮演着至关重要的角色,它能够扩展系统的数据处理能力,提高系统的灵活性和效率。具体而言,IO扩充器主要用于增加计算机系统的输入输出端口数量,提升其数据传输速率,以及增强其兼...
- 电流输出检测器在智能系统中的关键作用 电流输出检测器:保障系统运行稳定的核心器件电流输出检测器用于实时采集电路中的电流变化,是实现负载管理、过流保护和能效监控的重要工具。尤其在高功率系统中,其精准性直接关系到设备寿命与安全性。1. 检测机制与...
- 时钟缓冲器在现代数字系统中的关键作用 时钟缓冲器的核心功能概述时钟缓冲器是现代数字系统中不可或缺的组成部分,主要作用在于将原始时钟信号复制并分发至多个目标模块,同时保持信号的完整性和时序一致性。无论是单端还是差分架构,时钟缓冲器都承担着“...
- ALPS编码器在现代自动化系统中的关键作用 ALPS编码器在现代自动化系统中的关键作用随着智能制造与工业4.0的发展,高精度位置反馈成为自动化系统的核心需求。ALPS编码器凭借其卓越的稳定性与精准度,在各类自动化设备中扮演着“眼睛”与“大脑”的角色。1. 提升运动...
- 时钟缓冲器在数字系统中的关键作用与应用解析 时钟缓冲器的核心功能与重要性时钟缓冲器(Clock Buffer)是现代数字系统中不可或缺的组件,主要用于调节和优化时钟信号的传输质量。在高速集成电路设计中,时钟信号的同步性和稳定性直接影响系统的性能与可靠性。时钟缓...
- AC-DC转换器二次侧协定译码器在电源系统中的关键作用解析 AC-DC转换器二次侧协定译码器的核心功能与应用在现代电力电子系统中,AC-DC转换器作为将交流电转化为直流电的关键设备,广泛应用于消费电子、工业控制、通信基站及新能源等领域。其中,二次侧协定译码器(Secondary Side Proto...
- 如何在车载电子系统中协同使用CSRA系列电阻与LINEART滤波器提升系统性能 引言随着智能网联汽车的发展,车载电子系统的复杂度显著提升。单一元器件难以满足对精度、稳定性和抗干扰的多重需求。将汽车级金属膜精密MELF电阻器(如CSRA系列)与线艺(LINEART)滤波器协同设计,已成为高端车载系统设...